GB/T 39528-2020 建筑幕墻面板抗地震脫落檢測方法
- 發表時間:2023-01-10
- 來源:共立消防
- 人氣:
1 范圍
本標準規定了建筑幕墻面板抗地震脫落的檢測原理、檢測裝置、試件、檢測前準備、檢測、檢測結果及檢測報告。
本標準適用于建筑幕墻面板抗地震脫落的實驗室檢測。
2 規范性引用文件
下列文件對于本文件的應用是必不可少的。凡是注日期的引用文件,僅注日期的版本適用于本文件。凡是不注日期的引用文件,其最新版本(包括所有的修改單)適用于本文件。
GB/T 18250 建筑幕墻層間變形性能分級及檢測方法
GB/T 34327 建筑幕墻術語
3 術語和定義
GB/T 34327、GB/T 18250界定的以及下列術語和定義適用于本文件。
3.1
脫落 fall out
建筑幕墻面板或配件從試件分離并掉落的現象。
注:配件指固定面板的壓板、扣蓋、緊固件等。
3.2
損壞位移 damage displacement
建筑幕墻試件面板或配件發生影響正常使用的可見損壞但未發生脫落的最小位移量。
注1:可見損壞包括面板裂縫、粘結破壞、壓板及緊固件損壞等。
注2:損壞位移用符號Δ表示。
3.3
脫落位移 fall out displacement
建筑幕墻試件面板或配件發生脫落的最小位移量。
注:脫落位移用符號Δ,表示。
4 檢測原理
通過動力加載裝置模擬主體結構在地震荷載作用時產生的層間變形,在規定頻率和位移條件下,檢測幕墻試件面板和配件抗損壞和脫落的能力。
5 檢測裝置
5.1 組成
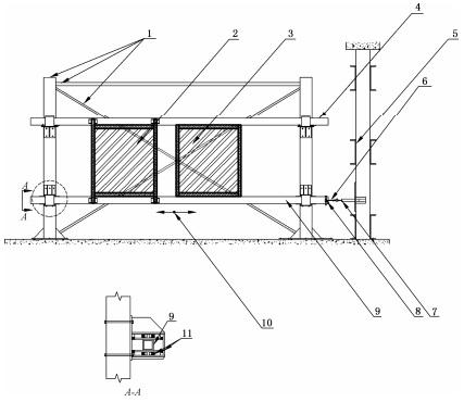
檢測裝置應由試件安裝架(包括支撐架、固定橫梁、活動橫梁、滑移裝置等)、動力加載裝置、位移測量裝置等組成,檢測裝置示意圖見圖1。

說明:
1——支撐架;
2——幕墻試件:
3——窗墻試件
4——固定橫梁;
5——反力架;
6——位移測量裝置;
7——動力加載裝置;
8——連接部位;
9——活動橫梁;
10——位移方向;
11——滑移裝置。
圖1 檢測裝置示意圖
5.2 要求
5.2.1 試件安裝用支撐架應能承受檢測過程中可能出現的作用力。安裝用固定橫梁和活動橫梁應能承受試件的自重以及檢測過程中可能出現的荷載,并應具有足夠的剛度和整體穩定性,且應滿足試件支承方式的要求。
5.2.2 滑移裝置應能充分承受試驗過程中可能出現的荷載,不應出現影響檢測的損壞。
5.2.3 動力加載裝置行程應能滿足最大位移要求,動作應連續,且頻率響應能滿足檢測頻率要求。反力架應牢固。
5.2.4 位移測量裝置應具有實時采集位移變化量的能力,其精度不應低于2mm。
5.2.5 天平稱量精度不應低于0.1g。
6 試件
6.1 要求
6.1.1 建筑幕墻試件的選取應具有代表性,高度方向應至少包括一個層高,寬度方向宜至少包括三個面板分格,宜包括下列不利部位:
a) 面板面積最大部位;
b) 面板厚度最小部位;
c) 面板強度最低部位;
d) 面板安裝最薄弱部位;
e) 面板與框間隙最小部位;
f) 面板高寬比最小部位;
g)層間位移角最大部位。
6.1.2 試件規格、型號、材料、配件等應與委托單位所提供的圖樣一致。
6.1.3 試件應保持清潔、干燥。
6.2 安裝
6.2.1 試件安裝應與設計要求或工程實際相同。玻璃幕墻安裝示意圖和窗式幕墻安裝示意圖分別見圖2和圖3。

圖2 玻璃幕墻安裝示意圖

圖3 窗式幕墻安裝示意圖
6.2.2 單元式幕墻應包含起始料和掛接裝置,并應包含設計或工程實際要求的限位措施。
7 檢測前準備
7.1 檢測前,試件應在不低于5℃環境下存放,存放時間不應少于16h。
7.2 檢測前應對試件安裝進行檢查,符合設計或工程實際要求后才可進行檢測。
7.3 檢測前應采取必要的安全防護措施,并確保有效。
以上為標準部分內容,如需看標準全文,請到相關授權網站購買標準正版。
-
IG541混合氣體滅火系統
IG541混合氣體滅火系統:IG-541滅火系統采用的IG-541混合氣體滅火劑是由大氣層中的氮氣(N2)、氬氣(Ar)和二氧化碳(CO2)三種氣體分別以52%、40%、8%的比例混合而成的一種滅火劑 -
二氧化碳氣體滅火系統
二氧化碳氣體滅火系統:二氧化碳氣體滅火系統由瓶架、滅火劑瓶組、泄漏檢測裝置、容器閥、金屬軟管、單向閥(滅火劑管)、集流管、安全泄漏裝置、選擇閥、信號反饋裝置、滅火劑輸送管、噴嘴、驅動氣體瓶組、電磁驅動 -
七氟丙烷滅火系統
七氟丙烷(HFC—227ea)滅火系統是一種高效能的滅火設備,其滅火劑HFC—ea是一種無色、無味、低毒性、絕緣性好、無二次污染的氣體,對大氣臭氧層的耗損潛能值(ODP)為零,是鹵代烷1211、130 -
手提式干粉滅火器
手提式干粉滅火器適滅火時,可手提或肩扛滅火器快速奔赴火場,在距燃燒處5米左右,放下滅火器。如在室外,應選擇在上風方向噴射。使用的干粉滅火器若是外掛式儲壓式的,操作者應一手緊握噴槍、另一手提起儲氣瓶上的


