GB/T 23913.5-2009 復合巖棉板耐火艙室 第5部分:塑料裝飾件
- 發表時間:2022-11-07
- 來源:共立消防
- 人氣:
1 范圍
GB/T 23913的本部分規定了復合巖棉板耐火艙室中塑料裝飾件的型式、要求、試驗方法和檢驗規則等。
本部分適用于船舶和海洋工程建筑物上具有耐火分隔要求的艙室和生活模塊中塑料裝飾件的設計、制造和驗收。
2 規范性引用文件
下列文件中的條款通過GB/T 23913的本部分的引用而成為本部分的條款。凡是注日期的引用文件,其隨后所有的修改單(不包括勘誤的內容)或修訂版均不適用于本部分,然而,鼓勵根據本部分達成協議的各方研究是否可使用這些文件的最新版本。凡是不注日期的引用文件,其最新版本適用于本部分。
GB/T 1033.1 塑料 非泡沫塑料密度的測定 第1部分:浸漬法、液體比重瓶法和滴定法(GB/T 1033.1-2008,ISO 1183-1:2004,IDT)
GB/T 4454-1996 硬質聚氯乙烯層壓板材
GB/T 6388 運輸包裝收發貨標志
QB/T 1650-1992 硬質聚氯乙烯泡沫塑料板材
3 分類和標記
3.1 分類
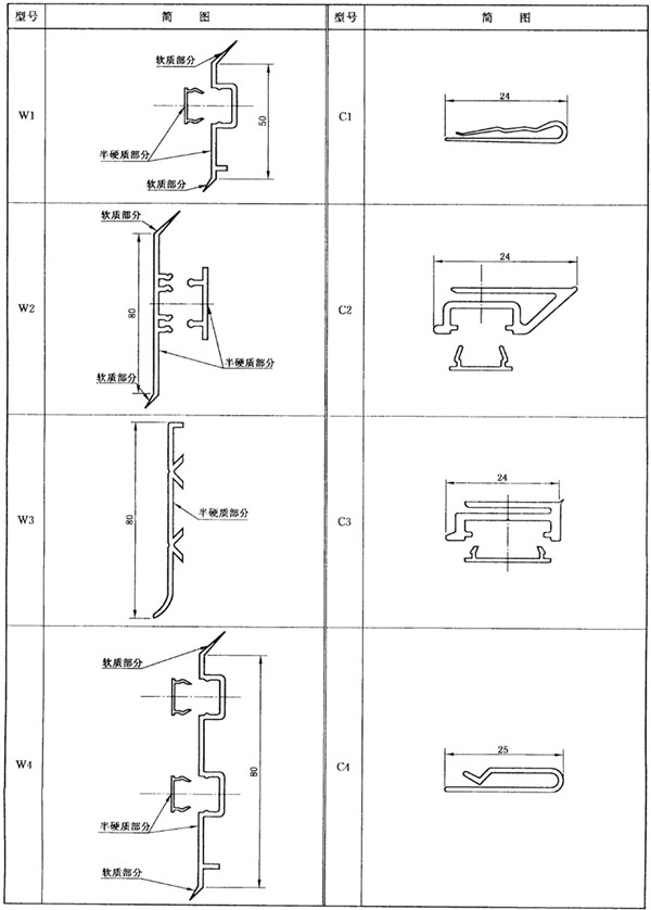
塑料裝飾件按照用途分為踢腳板和天花板嵌條兩種。
3.2 結構和基本尺寸
塑料裝飾件的典型結構和基本尺寸見表1。
3.3 標記
3.3.1 型號表示方法
塑料裝飾件的型號表示方法如下:

3.3.2 標記示例
示例1:1型踢腳板標記為:
塑料裝飾件 GB/T 23913.5-2009 W1
示例2:1型天花板嵌條標記為:
塑料裝飾件 GB/T 23913.5-2009 C1
表1 塑料裝飾件的典型結構和基本尺寸 單位為毫米

4 要求
4.1 材料
塑料裝飾件的基材采用聚氯乙烯樹脂或其他等效材料。
4.2 外觀
塑料裝飾件表面不應有色差,不應有裂縫、氣泡和未分散的輔料。踢腳板半硬質部分和軟質部分之間允許有輕微色差,但半硬質部分和軟質部分交界處應成一直線,不應有流掛現象。
4.3 性能
塑料裝飾件的理化性能見表2。
表2 塑料裝飾件的理化性能
項 目 | 性 能 | |
密度/(kg/m2) | 1 200~1 500 | |
拉伸強度(縱、橫向)/MPa | ≥38 | |
140℃加熱尺寸變化率 | 縱向/% | ≤6 |
橫向/% | ≤4 | |
耐低溫性 | -30℃時不龜裂 | |
自熄性 | 離開火源即熄滅,不陰燃,不蔓延 | |
5 試驗方法
5.1 材料
用檢查材質證明書的方法檢驗塑料裝飾件的材料。結果應符合4.1的要求。
5.2 外觀
在自然光線下目測并結合手摸的方法檢驗塑料裝飾件的外觀質量。結果應符合4.2的要求。
5.3 性能
5.3.1 塑料裝飾件的密度按GB/T1033.1規定的方法進行檢驗。結果應符合4.3的要求。
5.3.2 塑料裝飾件的拉伸強度按GB/T 4454-1996中5.3.4規定的方法進行檢驗。結果應符合4.3的要求。
5.3.3 塑料裝飾件的140℃加熱尺寸變化率按GB/T 4454-1996中5.3.7規定的方法進行檢驗。結果應符合4.3的要求。
5.3.4 塑料裝飾件的耐低溫性按QB/T 1650-1992中5.4.12規定的方法進行檢驗。結果應符合4.3的要求。
5.3.5 塑料裝飾件的自熄性按QB/T 1650-1992中5.3.9規定的方法進行檢驗。結果應符合4.3的要求。
6 檢驗規則
6.1 檢驗分類
本標準規定的檢驗分類如下:
a)型式檢驗;
b)出廠檢驗。
6.2 型式檢驗
6.2.1 檢驗時機
塑料裝飾件有下列情況之一時,應進行型式檢驗:
以上為標準部分內容,如需看標準全文,請到相關授權網站購買標準正版。
-
IG541混合氣體滅火系統
IG541混合氣體滅火系統:IG-541滅火系統采用的IG-541混合氣體滅火劑是由大氣層中的氮氣(N2)、氬氣(Ar)和二氧化碳(CO2)三種氣體分別以52%、40%、8%的比例混合而成的一種滅火劑 -
二氧化碳氣體滅火系統
二氧化碳氣體滅火系統:二氧化碳氣體滅火系統由瓶架、滅火劑瓶組、泄漏檢測裝置、容器閥、金屬軟管、單向閥(滅火劑管)、集流管、安全泄漏裝置、選擇閥、信號反饋裝置、滅火劑輸送管、噴嘴、驅動氣體瓶組、電磁驅動 -
七氟丙烷滅火系統
七氟丙烷(HFC—227ea)滅火系統是一種高效能的滅火設備,其滅火劑HFC—ea是一種無色、無味、低毒性、絕緣性好、無二次污染的氣體,對大氣臭氧層的耗損潛能值(ODP)為零,是鹵代烷1211、130 -
手提式干粉滅火器
手提式干粉滅火器適滅火時,可手提或肩扛滅火器快速奔赴火場,在距燃燒處5米左右,放下滅火器。如在室外,應選擇在上風方向噴射。使用的干粉滅火器若是外掛式儲壓式的,操作者應一手緊握噴槍、另一手提起儲氣瓶上的


