GB/T 20450-2006 活性炭著火點測試方法
- 發表時間:2022-12-28
- 來源:共立消防
- 人氣:
1 范圍
本標準規定了粒狀活性炭在流動空氣中參考著火點的測定。
本標準試驗方法測定的著火點并非活性炭在具體用途的操作條件下可能發生的著火點。
本標準適用于木質、煤質粒狀活性炭。
本標準無意指明與活性炭使用有關的可能有的所有安全問題。
2 規范性引用文件
下列文件中的條款通過本標準的引用而成為本標準的條款。凡是注日期的引用文件,其隨后所有的修改單(不包括勘誤的內容)或修訂版均不適用于本標準,然而,鼓勵根據本標準達成協議的各方研究是否可使用這些文件的最新版本。凡是不注日期的引用文件,其最新版本適用于本標準。
GB/T 12496.2 木質活性炭試驗方法 粒度的測定
3 術語和定義
下列術語和定義適用于本標準。
3.1
著火點 ignition temperature(T)
規定條件下活性炭自發發生燃燒的最低溫度。
4 方法提要
把活性炭試樣暴露在加熱的空氣流中,空氣流溫度慢慢升高,直至炭樣著火。記錄炭層和進入炭層空氣的溫度,當炭層溫度突然上升超過進入炭層的空氣的溫度時的溫度點,即定為此試樣的著火點。
5 儀器及設備
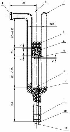
5.1 石英燃燒管,如圖1所示。
5.2 熱電偶,WREK-112K 1.5×50,3只。
5.3 潔凈干燥的空氣源,流量范圍(0~20)L/min。
5.4 轉子流量計,流量范圍(0~20)L/min,1只。
5.5 調壓器(或程序升溫器)。
5.6 加熱套。
5.7 氮氣源。
5.8 石英珠或石英砂,d=2mm~4mm。
5.9 篩子,2只,篩眼直徑150μm。
5.10 自動平衡記錄儀,XWF-100K(0-600),3臺。
5.11 氣體干燥瓶,1000mL,2只,分別裝入適量的活性炭、硅膠。

1——球形接頭;
2——熱電偶T-2;
3——石英套;
4——擋炭石英珠;
5——活性炭樣品;
6——石英多孔圓片90μm~150μm小孔;
7——多孔石英圓片;
8——石英珠填料;
9——擋珠塞;
10——熱電偶T-1;
11——熱電偶T-3。
圖1 石英燃燒管
6 危險性
6.1 著火時炭層溫度會急劇升高,為了在出現突然升溫時滅火,應有操作人員在實驗現場,適當供給氮氣,在所有熱電偶顯示溫度明顯低于著火點后方可切斷氮氣流。
6.2 已使用過的活性炭或浸澤炭可能有毒,建議在通風櫥內做試驗。
7 安裝
將各部件按如圖2所示安裝好。

1——空氣源;
2——空氣干燥器;
3——活性炭吸附瓶;
4——流量計:
5——空氣開關;
6——氮氣開關;
7——氮氣瓶;
8——加熱套;
9——熱電偶T-2;
10——石英燃燒管;
11——樣品:
12——電加熱絲;
13——熱電偶T-1;
14——熱電偶T-3。
圖2 著火點測試裝置
8 樣品預處理
取大約35mL活性炭樣品,按照GB/T 12496.2中的方法放入試驗篩中除去炭粉,備用。
9 測試程序
將試樣裝填燃燒管至(25±1)mm的高度,炭層上部覆蓋至少15mm以上的石英砂,以防止炭層流態化。
打開空氣開關,以20L/min流量的干燥潔凈的空氣吹掃炭層30 min。
將空氣流量調節至(14.7±0.3)L/min,調節調壓器(或程序升溫器),使通入樣品的空氣流以大約10℃/min的速度升溫至空氣溫度達到大約150℃;或空氣溫度低于樣品預計著火點大約50℃時,調節調壓器(或程序升溫器),減小空氣升溫速度至2℃/min~3℃/min。
保持 ℃/min~3℃/min的升溫速度,直到熱電偶T-1或T-2測量出的溫度突然上升已達到著火點時為止。
著火后立即切斷空氣流并通氮氣滅火。
10 結果計算
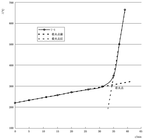
10.1 自動平衡記錄儀根據熱電偶的輸出以時間為橫軸、溫度為縱軸繪出熱電偶T-1和T-2所測得的溫度與時間的關系曲線。圖3(以熱電偶T-1先顯示著火)為示例。
10.2 取急劇升溫前的溫度曲線的延長線與急劇升溫后的曲線的延長線的交點作為著火點。著火點精確至整數。
按T-1、T-2曲線可計算出兩個著火點,以先顯示著火的熱電偶溫度曲線所做出的點作為該試樣的著火點。

圖3 時間-溫度關系曲線
11 精密度與誤差
兩個平行試樣測定結果相對標準偏差不大于3%。
以上為標準部分內容,如需看標準全文,請到相關授權網站購買標準正版。
-
IG541混合氣體滅火系統
IG541混合氣體滅火系統:IG-541滅火系統采用的IG-541混合氣體滅火劑是由大氣層中的氮氣(N2)、氬氣(Ar)和二氧化碳(CO2)三種氣體分別以52%、40%、8%的比例混合而成的一種滅火劑 -
二氧化碳氣體滅火系統
二氧化碳氣體滅火系統:二氧化碳氣體滅火系統由瓶架、滅火劑瓶組、泄漏檢測裝置、容器閥、金屬軟管、單向閥(滅火劑管)、集流管、安全泄漏裝置、選擇閥、信號反饋裝置、滅火劑輸送管、噴嘴、驅動氣體瓶組、電磁驅動 -
七氟丙烷滅火系統
七氟丙烷(HFC—227ea)滅火系統是一種高效能的滅火設備,其滅火劑HFC—ea是一種無色、無味、低毒性、絕緣性好、無二次污染的氣體,對大氣臭氧層的耗損潛能值(ODP)為零,是鹵代烷1211、130 -
手提式干粉滅火器
手提式干粉滅火器適滅火時,可手提或肩扛滅火器快速奔赴火場,在距燃燒處5米左右,放下滅火器。如在室外,應選擇在上風方向噴射。使用的干粉滅火器若是外掛式儲壓式的,操作者應一手緊握噴槍、另一手提起儲氣瓶上的


