GB/T 12513-2006 鑲玻璃構件耐火試驗方法
- 發表時間:2022-12-29
- 來源:共立消防
- 人氣:
注意
執行本項試驗的所有工作人員都應注意,耐火試驗有可能對人身造成傷害。耐火試驗過程中,可能會產生有毒或有害的煙塵和煙氣。在試件的安裝過程、試驗過程和試驗后試件的清理過程中,均有可能出現機械性傷害和操作性危險。
試驗前要對所有潛在的危險及對健康的危害進行分析,并作出安全預告。對相關人員進行必要的培訓。實驗室工作人員應嚴格按照安全操作規程進行操作。
1 范圍
本標準規定了隔熱性鑲玻璃構件和非隔熱性鑲玻璃構件當其一面受火時的耐火試驗方法和耐火性能判定準則。
本標準適用于各種鑲玻璃構件的耐火試驗,如玻璃幕墻、玻璃隔墻等垂直、傾斜或水平安裝的鑲玻璃構件。
2 規范性引用文件
下列文件中的條款通過本標準的引用而成為本標準的條款。凡是注日期的引用文件,其隨后所有的修改單(不包括勘誤的內容)或修訂版均不適用于本標準,然而,鼓勵根據本標準達成協議的各方研究是否可使用這些文件的最新版本。凡是不注日期的引用文件,其最新版本適用于本標準。
GB/T 9775 紙面石膏板(GB/T 9775-1999,eqv ISO 6308:1980)
GB/T 9978 建筑構件耐火試驗力法[GB/T 9978-1999,neq ISO/FDIS 834-1:1997(E)]
3 術語和定義
下列術語和定義適用于本標準。
3.1
長寬比 aspect ratio
玻璃的受火長邊與受火短邊的比值。
3.2
安裝間隙 expansion allowance
玻璃在玻璃框之間允許的膨脹尺寸,見圖1的8。
注1:安裝間隙應分別測量兩個方向,如對垂直構件應分別測量高度方向和寬度方向的安裝間隙。
3.3
鑲嵌玻璃深度 glass edge cover
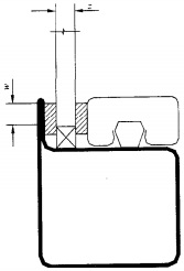
玻璃鑲嵌在玻璃框中的深度,見圖2的w。
3.4
鑲玻璃構件 glazed element
由一塊或幾塊透明或半透明玻璃鑲嵌在玻璃框中而組成的分隔構件。
3.5
傾斜度 inclination
相對于水平面的安裝角度(從0°到90°)。

x1——玻璃受火寬度; y——玻璃框內口寬度;
x2——玻璃受火高度; y2——玻璃框內口高度;
Z1——實際玻璃寬度; σ——安裝間隙。
Z2——實際玻璃高度;
圖1 鑲玻璃構件立面示意圖

z——玻璃厚度;
w——鑲嵌玻璃深度。
圖2 鑲玻璃構件局部剖面示意圖
3.6
水平鑲玻璃構件 horizontal glazed element
傾斜度大于等于0°小于等于25°的鑲玻璃構件。
3.7
傾斜鑲玻璃構件 inclined glazed element
傾斜度大于25°小于等于80°的鑲玻璃構件。
3.8
垂直鑲玻璃構件 vertical glazed element
傾斜度大于80°小于等于90°的鑲玻璃構件。
3.9
隔熱性鑲玻璃構件 insulated glazed element
在一定時間內能同時滿足耐火完整性和耐火隔熱性要求的鑲玻璃構件。
3.10
非隔熱性鑲玻璃構件 uninsulated glazed element
在一定時間內能滿足耐火完整性要求,若需要還能滿足熱通量要求,但不能滿足耐火隔熱性要求的鑲玻璃構件。
3.11
輔助結構 associated construction
在實際使用中安裝鑲玻璃構件的已知阻燃等級和熱傳導等級的結構。
3.12
支承結構 supporting construction
鑲玻璃構件進行試驗時,安裝試件可能需要的支架結構。
4 試驗裝置
4.1 耐火試驗爐應滿足GB/T 9978的要求。
4.2 垂直鑲玻璃構件在豎爐上進行耐火試驗。
4.3 水平鑲玻璃構件在水平爐上進行耐火試驗。
4.4 傾斜鑲玻璃構件應根據實際可能的受火條件,選用豎爐或水平爐進行耐火試驗。為便于傾斜鑲玻璃構件的安裝,對試驗爐進行的改造應不影響爐體的熱性能。傾斜鑲玻璃構件的安裝見圖3。

1——試驗爐;
2——玻璃;
3——玻璃框;
4——支撐結構;
5——試驗爐內襯;
6——試驗爐延伸部分;
7——試驗爐延伸部分的支承。
注:試驗爐延伸部分的熱性能參數應與試驗爐的相同。
圖3 傾斜鑲玻璃構件安裝示意圖
以上為標準部分內容,如需看標準全文,請到相關授權網站購買標準正版。
-
IG541混合氣體滅火系統
IG541混合氣體滅火系統:IG-541滅火系統采用的IG-541混合氣體滅火劑是由大氣層中的氮氣(N2)、氬氣(Ar)和二氧化碳(CO2)三種氣體分別以52%、40%、8%的比例混合而成的一種滅火劑 -
二氧化碳氣體滅火系統
二氧化碳氣體滅火系統:二氧化碳氣體滅火系統由瓶架、滅火劑瓶組、泄漏檢測裝置、容器閥、金屬軟管、單向閥(滅火劑管)、集流管、安全泄漏裝置、選擇閥、信號反饋裝置、滅火劑輸送管、噴嘴、驅動氣體瓶組、電磁驅動 -
七氟丙烷滅火系統
七氟丙烷(HFC—227ea)滅火系統是一種高效能的滅火設備,其滅火劑HFC—ea是一種無色、無味、低毒性、絕緣性好、無二次污染的氣體,對大氣臭氧層的耗損潛能值(ODP)為零,是鹵代烷1211、130 -
手提式干粉滅火器
手提式干粉滅火器適滅火時,可手提或肩扛滅火器快速奔赴火場,在距燃燒處5米左右,放下滅火器。如在室外,應選擇在上風方向噴射。使用的干粉滅火器若是外掛式儲壓式的,操作者應一手緊握噴槍、另一手提起儲氣瓶上的


