GB/T 2992.1-2011 耐火磚形狀尺寸 第1部分:通用磚
- 發表時間:2022-12-10
- 來源:共立消防
- 人氣:
1 范圍
GB/T 2992的本部分規定了通用磚的術語及定義、通用磚的尺寸系列、尺寸磚號及尺寸規格表示法、磚的尺寸及尺寸特征以及輻射形砌磚計算方法(見附錄A)。
本部分適用于工業爐窯等熱工設備耐火磚襯的直形砌磚、輻射形砌磚。
2 術語及定義
下列術語及定義適用于本文件。
2.1
通用耐火磚 general refractory bricks
指工業爐窯等熱工設備耐火磚襯的直形砌磚及輻射形砌磚所用的直形磚、側厚楔形磚、豎厚楔形磚、豎寬楔形磚和拱腳磚。
2.2
直形砌磚 straight brickwork
指表面為平直的直墻及平底砌磚。
2.3
輻射形砌磚 radial brickwork
具有半徑、中心角、表面為圓弧形的砌磚。按中心角輻射形砌磚分為中心角小于120°的推力拱(sprung arch),中心角等于180°的半圓拱(semi——circular arch)和中心角為360°的圓環形砌磚(circularbrickwork)。按配合砌筑用磚種類分為全部由一種楔形磚砌筑圓環的單楔形磚磚環(circle turned byan arch brick or crown,mono——taper system of ring),由楔形磚和直形磚配合砌筑圓環的混合磚環(mix——ing ring),以及由兩種楔形磚配合砌筑圓環的雙楔形磚磚環(two——taper system of ring)。
2.4
平砌 laying brick on flat
磚的大面置于水平砌磚基面的砌磚方法。
2.5
側砌 laying brick on edge
磚的側面置于水平砌磚基面(或拱胎表面)的砌磚方法。
2.6
豎砌 laying brick on end
磚的端面置于水平砌磚基面(或拱胎表面)的砌磚方法(也稱為立砌)。
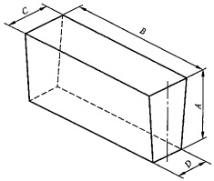
2.7
直形磚 rectangular bricks
僅由長(length)A、寬(breadth)B及厚(depth)C三個尺寸構成的直平行六面磚體,見圖1。長(A)與寬(B)(或兩個較大尺寸)形成的磚面稱為大面(large face),長(A)與厚(C)(或最大尺寸與最小尺寸)形成的磚面稱為側面(side face),寬(B)與厚(C)(或兩個較小尺寸)形成的磚面稱為端面(end face)。

說明:
L——大面;
S——側面;
E——端面。
圖1 直形磚
2.7.1
標準磚 standard square,square,straight
長230mm、寬114mm和厚65mm(或75mm)的直形磚。
2.7.2
四分之三長磚 three quarter brick
長為標準磚的四分之三(172mm),寬、厚分別與標準磚相同的錯縫用直形磚。
2.7.3
倍半長磚 sesquialter length bricks
長為標準磚的一倍半(345mm),寬、厚分別與標準磚相同的直形磚。
2.7.4
雙倍長磚 double length bricks
長為標準磚的兩倍(460mm),寬、厚分別與標準磚相同的直形磚。
2.7.5
倍半寬磚 bonder square
寬為標準磚的一倍半(172mm),長、厚分別與標準磚相同的錯縫用直形磚。
2.7.6
半厚薄磚 splits
厚為標準磚之半,長、寬分別與標準磚相同的直形磚。
2.7.7
雙倍寬磚(方板磚)double standard,tile
寬為標準磚的兩倍(230mm),長、厚分別與標準磚相同的直形磚(也稱為方板磚)。
2.7.8
加長磚 straights
長、寬均超過標準磚尺寸的直形磚。
2.8
楔形磚 bricks with taper
指至少有兩個端面、側面或大面為對稱梯形的六面磚體,見圖2。對稱梯形面兩底的較大尺寸、較小尺寸和中(位)線尺寸分別稱作大端尺寸(backface dimension,coldface dimension)C、小端尺寸(inner dimension,hotface dimension)D和中間尺寸或平均尺寸(median dimension)P,并經常以C/D表示楔形磚的大小端尺寸。對稱梯形面兩底間的高稱作楔形磚的大小端距離(distance between the backfaceand hotface)A。大小端尺寸差C——D稱為楔差(taper),楔差不為0的磚即為楔形磚。相同大小端距離A的同組楔形磚間,按楔差C——D由大到小(或按楔形磚的半徑由小到大)將它們相對地分為特銳楔形磚(ultra——sharp)、銳楔形磚(sharp)、鈍楔形磚(slow)和微楔形磚(fine——slow)。這些楔形磚的大端尺寸、中間尺寸及小端尺寸采取相等的尺寸(通常等于直形磚的配砌尺寸),分別稱作等大端尺寸(constantbackface dimension)、等中間尺寸(constant median dimension)及等小端尺寸(constan hotface dimension)。

說明:
θ0——楔形磚中心角;
r0——楔形磚內半徑;
Rp0——楔形磚中間半徑;
R0——一楔形磚外半徑。
圖2 楔形磚梯形面
2.8.1
厚楔形磚 arch bricks
也稱拱頂用磚,指大面傾斜、大小端尺寸C/D設計在厚度上的楔形磚。按大小端距離A設計在寬度或長度上,厚楔形磚又分為側厚楔形磚和豎厚楔形磚。
2.8.1.1
側厚楔形磚 side arch bricks,arch
大小端距離A設計在寬度上、大小端尺寸C/D設計在厚度上的楔形磚,見圖3。

圖3 側厚楔形磚
2.8.1.2
豎厚楔形磚 end arch bricks,wedge
大小端距離A設計在長度上、大小端尺寸C/D設計在厚度上的楔形磚,見圖4。
2.8.1.3
倍半寬豎厚楔形磚 end arch bonder bricks
寬度為114mm或150mm豎厚楔形磚一倍半的拱頂錯縫用豎厚楔形磚。
以上為標準部分內容,如需看標準全文,請到相關授權網站購買標準正版。
-
IG541混合氣體滅火系統
IG541混合氣體滅火系統:IG-541滅火系統采用的IG-541混合氣體滅火劑是由大氣層中的氮氣(N2)、氬氣(Ar)和二氧化碳(CO2)三種氣體分別以52%、40%、8%的比例混合而成的一種滅火劑 -
二氧化碳氣體滅火系統
二氧化碳氣體滅火系統:二氧化碳氣體滅火系統由瓶架、滅火劑瓶組、泄漏檢測裝置、容器閥、金屬軟管、單向閥(滅火劑管)、集流管、安全泄漏裝置、選擇閥、信號反饋裝置、滅火劑輸送管、噴嘴、驅動氣體瓶組、電磁驅動 -
七氟丙烷滅火系統
七氟丙烷(HFC—227ea)滅火系統是一種高效能的滅火設備,其滅火劑HFC—ea是一種無色、無味、低毒性、絕緣性好、無二次污染的氣體,對大氣臭氧層的耗損潛能值(ODP)為零,是鹵代烷1211、130 -
手提式干粉滅火器
手提式干粉滅火器適滅火時,可手提或肩扛滅火器快速奔赴火場,在距燃燒處5米左右,放下滅火器。如在室外,應選擇在上風方向噴射。使用的干粉滅火器若是外掛式儲壓式的,操作者應一手緊握噴槍、另一手提起儲氣瓶上的


