GB/T 32056-2015 高速動車組應急窗用玻璃逃生試驗方法
- 發表時間:2022-11-12
- 來源:共立消防
- 人氣:
1 范圍
本標準規定了高速動車組應急窗用玻璃逃生試驗方法的術語和定義、安全防護措施、試驗條件、試驗設備及儀器、試驗方法、試驗結果的評定和試驗報告。
本標準適用于設計速度不低于200km/h的高速動車組應急窗用玻璃的逃生試驗。
2 規范性引用文件
下列文件對于本文件的應用是必不可少的。凡是注日期的引用文件,僅注日期的版本適用于本文件。凡是不注日期的引用文件,其最新版本(包括所有的修改單)適用于本文件。
GB/T 1216 外徑千分尺
GB 18045 鐵道車輛用安全玻璃
3 術語和定義
下列術語和定義適用于本文件。
3.1
應急窗 emergency window
經過特殊設計與加工,緊急情況下可被迅速打破,用于逃生或救援的車窗。
3.2
應急錘 emergency hammer
緊急情況下用于敲碎應急窗玻璃的特制尖頭錘子。
4 安全防護措施
敲擊人員應佩備帶面罩的防護頭盔、厚膠皮手套等個人防護用品。
5 試驗條件
除特殊規定外,試驗應在下述條件下進行:
a)環境溫度:20℃±5℃;
b)大氣壓力:8.4×104 Pa~1.06×105 Pa;
c)相對濕度:40%~80%。
6 試驗設備及儀器
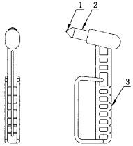
6.1 應急錘
由錘尖、錘頭和手柄組成,如圖1所示。應急錘應滿足以下條件:
a)重量:180g±10g;
b)錘頭采用鋼質實心結構,錘頭頂尖錐度應不大于60°,尖端曲率半徑為0.2mm±0.05mm,錘尖材質為硬質合金,硬度高于50 HRC;
c) 手柄材質宜采用尼龍;
d) 錘身要有防滑設計,與錘頭連接牢固,在敲擊車窗時不能出現斷裂或錘頭分離現象。

說明:
1-錘尖;
2-錘頭;
3-手柄。
圖1 應急錘示意圖
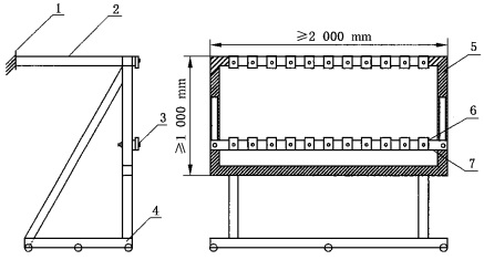
6.2 試驗支架
試驗支架應具有足夠的剛度,采用高度大于50mm的槽鋼,用螺栓等牢固固定在地面上,并在背面加支撐裝置,以防止沖擊時支架明顯變形、位移或傾斜。該試驗支架高度應和實際車窗高度基本一致,并且能通過調節用于不同尺寸應急窗用玻璃的試驗。如圖2所示。

說明:
1-固定壁;
2-支持桿;
3-調節螺栓;
4-用螺栓固定的底座;
5-試驗框;
6-調節桿;
7-固定試樣用壓板。
圖2 試驗支架示意圖
6.3 電子秒表
計時電子秒表的測量分辨力應不大于0.1s。
7 試驗方法
7.1 試驗件
從產品中隨機抽取4件,其中3件用于從內側逃生試驗,由1名男性和2名女性(可由同一人做兩次)進行試驗,另1件用于從外側救援逃生試驗,由男性來進行。試驗前按照GB18045的外觀要求對試驗件進行檢查,合格品方能用于試驗。
7.2 敲擊人員
敲擊人員至少為1名男性和1名女性,男性年齡18周歲~60周歲、身高不超過1678mm、體重不超過59kg。女性年齡18周歲~55周歲、身高不超過1570mm、體重不超過52kg。
如果敲擊人員是第一次進行此類逃生試驗,在開始敲擊前應對其進行簡單的講解培訓。
7.3 試驗程序
試驗按以下程序進行:
a)檢查試驗件外觀并確定敲擊位置;
b)使用符合GB/T1216要求的外徑千分尺測量并記錄試驗件厚度;
c)試驗前試驗件應保存在規定的試驗環境溫度下至少24h;
d)記錄試驗環境溫度和相對濕度;
e)將試驗件按敲擊方向放在符合6.2的試樣支架上,周邊用C型夾等將試驗件固定,至少固定試驗件的上下兩邊;試驗件夾持要牢固,在整個試驗過程中周邊夾持部位不能從試驗支架上脫落;
f) 確定敲擊人員和逃生試驗時間;
g) 敲擊人員開始敲擊時,計時人員同時開始計時;
h) 敲擊人員先用應急錘在敲擊位置連續敲擊,盡量保證每次敲擊重復在同一個點上,直至所有玻璃層全部破碎,然后用力向外推玻璃,直至玻璃脫落到窗外;如果在推的過程發現窗框周邊某些部位因玻璃碎片較大等原因,玻璃不能從窗框脫落,可用應急錘在局部再次敲擊,而后再用力推;
i) 玻璃脫落后,如果窗框周邊有殘余碎片,可用應急錘將殘余碎片敲落,形成一個不小于規定值的逃生洞口,逃生洞口尺寸的規定值由試驗委托方提供;
j) 當形成的洞口尺寸大于規定值或敲擊時間達到2min時,計時結束,秒表記錄的時間即為該試驗件的實際逃生時間;
k)重復c)~j)的過程,進行下一個試驗件的試驗。
8 試驗結果的評定
試驗結果如下:
a)當2min內能形成完整的洞口時,記錄為“脫落”,并記錄實際逃生時間和洞口尺寸;
b)當2min時仍未形成完整的洞口時,記錄為“未脫落”。
9 試驗報告
試驗報告至少應包括以下內容:
a)試驗依據;
b)試驗設備及儀器;
c)試驗件情況:包括試驗件名稱、數量、編號、結構、規格尺寸;
d)試驗記錄:包括環境溫度及相對濕度、試驗前后試驗件狀態、敲擊位置、敲擊人員信息;
e) 試驗結果:包括逃生時間、洞口尺寸及脫落狀況;
f) 試驗單位、試驗日期及試驗人員。
以上為標準部分內容,如需看標準全文,請到相關授權網站購買標準正版。
-
IG541混合氣體滅火系統
IG541混合氣體滅火系統:IG-541滅火系統采用的IG-541混合氣體滅火劑是由大氣層中的氮氣(N2)、氬氣(Ar)和二氧化碳(CO2)三種氣體分別以52%、40%、8%的比例混合而成的一種滅火劑 -
二氧化碳氣體滅火系統
二氧化碳氣體滅火系統:二氧化碳氣體滅火系統由瓶架、滅火劑瓶組、泄漏檢測裝置、容器閥、金屬軟管、單向閥(滅火劑管)、集流管、安全泄漏裝置、選擇閥、信號反饋裝置、滅火劑輸送管、噴嘴、驅動氣體瓶組、電磁驅動 -
七氟丙烷滅火系統
七氟丙烷(HFC—227ea)滅火系統是一種高效能的滅火設備,其滅火劑HFC—ea是一種無色、無味、低毒性、絕緣性好、無二次污染的氣體,對大氣臭氧層的耗損潛能值(ODP)為零,是鹵代烷1211、130 -
手提式干粉滅火器
手提式干粉滅火器適滅火時,可手提或肩扛滅火器快速奔赴火場,在距燃燒處5米左右,放下滅火器。如在室外,應選擇在上風方向噴射。使用的干粉滅火器若是外掛式儲壓式的,操作者應一手緊握噴槍、另一手提起儲氣瓶上的


