MT/T 1060-2008 礦用混凝土強度檢測儀
- 發表時間:2022-10-20
- 來源:共立消防
- 人氣:
1 范圍
本標準規定了煤礦用混凝土強度檢測儀(以下簡稱檢測儀)的型號、基本參數、技術要求、試驗方法、檢驗規則、標志、包裝、運輸及貯存。
本標準適用于煤礦用后裝拔出法混凝土強度檢測儀,其它礦山用混凝土強度檢測儀也可參照使用。
2 規范性引用文件
下列文件中的條款通過本標準的引用而成為本標準的條款。凡是注日期的引用文件,其隨后所有的修改單(不包括勘誤的內容)或修訂版均不適用于本標準,然而,鼓勵根據本標準達成協議的各方研究是否可使用這些文件的最新版本。凡是不注日期的引用文件,其最新版本適用于本標準。
GB 3836.1 爆炸性氣體環境用電氣設備 第 1 部分:通用要求(GB 3836.1-2000, eqv IEC 60079-0:1998)
GB 3836.4 爆炸性氣體環境用電氣設備 第 4 部分:本質安全型 “i” (GB 3836.4-2000, eqv IEC 60079-11:1999)
GB/T 10111 利用隨機數骰子進行隨機抽樣的方法
GB/T 13813 煤礦用金屬材料摩擦火花安全性試驗方法和判定規則
JJG 621-2005 液壓千斤頂檢定規程
CECS 69:94 后裝拔出法檢測混凝土強度技術規程
3 產品構成與基本參數
3.1 產品構成
檢測儀由主機、打孔機、磨槽機和錨固件等部分構成。
3.2 型號
檢測儀型號編制方法如下:

示例:一套拔出力 30kN 的采用后裝拔出法混凝土強度檢測儀,其型號標記為 HB30。
3.3 基本參數
檢測儀的基本參數包括拔出力(kN)、活塞行程(mm)、示值誤差及檢測儀重量(kg)。
4 技術要求
4.1 檢測儀應符合本標準并按規定程序批準的圖樣及技術文件制造。
4.2 檢測儀主機應使用數字顯示表,分辨率不大于 0.1kN,并有峰值保持功能。數字顯示表防爆性能應符合 GB 3836.1、GB 3836.4 的規定。
4.3 傳感器接頭應有防磕碰保護措施及防塵蓋。
4.4 檢測儀操作應靈活、可靠。空載運行時,液壓缸活塞運行平穩,無卡滯現象。空載運行壓力應不大于產品額定壓力的 5%。
4.5 檢測儀在額定壓力下液壓缸推力應不小于設計值。
4.6 在額定壓力的 1.25 倍下,保壓 3min,檢測儀各部分不應出現外滲漏和破損等異常。
4.7 檢測儀示值應以力值為單位,精確至 0.1kN,檢測出的力值與混凝土之間的強度換算應按 CECS69: 94 中所規定的方法進行。檢測儀示值誤差應不大于±2% F·S。
4.8 產品外觀應無銹蝕等缺陷,緊固件不應有松動和損傷,密封處無滲油現象,銘牌齊全且固定牢靠。
4.9 檢測儀中的氣動鉆孔機應能在混凝土中鉆取直徑φ16mm±0.5mm,深度不小于45mm±1mm 的直孔。鉆孔機宜帶有控制垂直度及深度的裝置。氣動磨槽機上的磨槽輪直徑 φ16mm±0.3mm,厚 10mm±0.3mm,輪軸直徑 φ9mm±0.2mm。錨固件由脹簧和拉桿組成。
5 試驗方法
5.1 試驗條件
檢測儀試驗條件如下:
a) 溫度:15℃ ~ 35℃;
b) 相對濕度:45% ~ 75%。
5.2 檢測儀防爆性能試驗
數字顯示表電氣防爆性能應按 GB 3836.1、GB 3836.4 規定進行試驗。
5.3 空載性能試驗
檢測儀在空載狀況下,往復運行三次后,測量空載運行壓力并觀測操作運行狀況。
5.4 滿載性能試驗
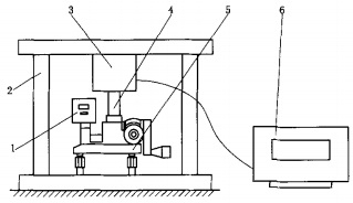
將檢測儀與標準測力傳感器垂直放置在機架上,使活塞伸出不小于行程的三分之二后,使檢測儀在額定壓力下工作,測量液壓缸推力值(見圖 1)。測力計的精度應不低于 1%。
5.5 超載性能試驗
將檢測儀垂直放置在試驗臺架上,當活塞伸出不小于行程的三分之二后,使壓力值達到額定壓力的1.25 倍,保壓 3min 觀察檢測儀各部分的超載性能。
5.6 示值誤差性能試驗
5.6.1 按 JJG 621-2005 第 6 章的方法,將檢測儀連續加壓,使活塞伸出行程二分之一,與測力傳感器同軸垂直地放置在機架上(見圖 1)。

1.數顯指示表; 2.機架; 3.傳感器;4.接桿;5.檢測儀;6.力負荷基準測量儀表
圖 1 試驗裝置
5.6.2 檢測儀液壓缸對測力傳感器施加負荷,加荷等級可按在全量程內取 5 個均勻分布的標定點,從初始負荷開始,按遞增順序施加負荷,直至達到額定負荷。讀完額定負荷下的指示表讀數后,將負荷退回到初始負荷。以上步驟測定三次。
5.6.3 根據上述檢定結果,按公式(1)、(2)求出示值誤差。

式中:
i-測定點序,i=1,2,……,n ;
j-測定次序,j=1,2,3;
Pij-與基準力Pi對應的第i點第j次的拉力顯示值,單位為千牛(kN);
Pi —與基準力Pi對應的拉力值,單位為千牛(kN);
Pj一第i點的基準力,單位為千牛(kN);
Pe—額定拉力,單位為千牛(kN);
δi—測定第i點時的示值偏差。
5 個檢定點中最大的δi 值,即為檢測儀示值誤差。
5.7 檢測儀外觀檢測
5.7.1 鉆頭和磨輪直徑用(0~150)mm 游標卡尺測量(精度±0.02mm)。
5.7.2 檢測儀外觀采用目測。
6 檢驗規則
6.1 出廠檢驗
6.1.1 檢測儀出廠檢驗項目按表 1 規定進行。
6.1.2 檢測儀按所規定的出廠檢驗項目逐臺進行檢驗。若有一項檢驗項目不合格時,即判定該臺檢測儀為不合格品;只有在所規定的出廠檢驗項目全部合格后,才能判定為合格品。合格品應附有合格證才能出廠。
6.2 型式檢驗
6.2.1 在下列之一情況下應進行型式檢驗:
a)新產品或老產品轉廠生產時;
b)產品結構、材料、工藝有較大改變,可能影響產品性能時;
c)正常生產的產品每隔五年時;
d)停產一年恢復生產時;
e)出廠檢驗結果與上次型式檢驗有較大差異時;
f)國家質量監督機構提出要求時。
6.2.2 型式檢驗項目按表 1 規定進行。
6.2.3 型式檢驗樣品不少于1臺,從抽樣基數不少于10臺的出廠檢驗合格品中,按GB/T 10111的規定抽取。
6.2.4 在型式檢驗樣機中,對A類項目,所有檢驗項目應合格,有一項不合格則判定為不合格。對B 類項目,如有一項檢驗不合格需對合格項加倍復檢,兩項不合格則判定為不合格。復檢仍有不合格者則判該批產品不合格。
以上為標準部分內容,如需看標準全文,請到相關授權網站購買標準正版。
-
IG541混合氣體滅火系統
IG541混合氣體滅火系統:IG-541滅火系統采用的IG-541混合氣體滅火劑是由大氣層中的氮氣(N2)、氬氣(Ar)和二氧化碳(CO2)三種氣體分別以52%、40%、8%的比例混合而成的一種滅火劑 -
二氧化碳氣體滅火系統
二氧化碳氣體滅火系統:二氧化碳氣體滅火系統由瓶架、滅火劑瓶組、泄漏檢測裝置、容器閥、金屬軟管、單向閥(滅火劑管)、集流管、安全泄漏裝置、選擇閥、信號反饋裝置、滅火劑輸送管、噴嘴、驅動氣體瓶組、電磁驅動 -
七氟丙烷滅火系統
七氟丙烷(HFC—227ea)滅火系統是一種高效能的滅火設備,其滅火劑HFC—ea是一種無色、無味、低毒性、絕緣性好、無二次污染的氣體,對大氣臭氧層的耗損潛能值(ODP)為零,是鹵代烷1211、130 -
手提式干粉滅火器
手提式干粉滅火器適滅火時,可手提或肩扛滅火器快速奔赴火場,在距燃燒處5米左右,放下滅火器。如在室外,應選擇在上風方向噴射。使用的干粉滅火器若是外掛式儲壓式的,操作者應一手緊握噴槍、另一手提起儲氣瓶上的


