MT/T 741-2011 煤系高嶺巖三氧化二鋁浸出率測定方法
- 發表時間:2022-09-30
- 來源:共立消防
- 人氣:
1 范圍
本標準規定了測定煤系高嶺巖三氧化二鋁浸出率的試劑、儀器設備、試樣制備、測定步驟、結果計算、精密度及試驗報告。
本標準適用于煤系高嶺巖。
2 規范性引用文件
下列文件對于本文件的應用是必不可少的。凡是注日期的引用文件,僅所注日期的版本適用于本文件。凡是不注日期的引用文件,其最新版本(包括所有的修改單)適用于本文件。
GB 474 煤樣的制備方法(GB 474-2008,ISO 18283:2006, Hard coal and coke—Manual sampling, MOD)
GB/T 14563-2008 高嶺土及其試驗方法
3 方法提要
將煤系高嶺巖破碎、研磨至規定粒度,在一定溫度下灼燒,先測定試樣中三氧化二鋁質量分數,再測定硫酸浸出三氧化二鋁質量分數。根據試樣中三氧化二鋁質量分數與硫酸浸出三氧化二鋁質量分數,計算煤系高嶺巖三氧化二鋁浸出率。
4 試劑
4.1 氨水:密度0.9 g/cm3。
4.2 鹽酸:密度1.19 g/cm3。
4.3 硫酸:密度1.84 g/cm3。
4.4 氨水溶液 (1+1):將氨水與等體積水混合。
4.5 鹽酸溶液 (1+1): 將鹽酸與等體積水混合。
4.6 硫酸溶液 (1+1):將硫酸在不斷攪拌下緩慢倒入等體積水中。
4.7 硫酸溶液 (1+5): 將1份硫酸在不斷攪拌下緩慢倒入5份水中。
4.8 乙酸—乙酸銨緩沖溶液:將77.00 g乙酸銨溶于500 mL水中,加入58.9 mL冰乙酸,再用水稀釋至1 000 mL。此溶液pH值為4.5。
4.9 乙酸—乙酸鈉緩沖溶液:將136.00 g乙酸鈉(NaAc·3H2O)溶于適量水中,加入3.3 mL冰乙酸,再用水稀釋至1 000 mL。此溶液pH值為6.0。
4.10 硫酸銅溶液[c(CuSO4)= 0.035 mol/L]:將8.738 8 g硫酸銅(CuSO4·5H2O)溶于已加入5滴硫酸溶液(4.6)的200 mL水中,再用水稀釋至1 000 mL。
準確吸取EDTA標準溶液20 mL于 250 mL 燒杯中,用水稀釋至100mL,加乙酸—乙酸銨緩沖溶液20 mL及亞硝基紅鹽指示劑2 mL,用硫酸銅溶液滴定,溶液由黃色經翠綠色突變為草綠色為終點。
每毫升硫酸銅溶液相當于EDTA標準溶液的體積K 按式(1)計算:
K = VEDTA/V …………………………………………………( 1 )
式中:
VEDTA——吸取EDTA標準溶液體積,單位為毫升(mL);
V——滴定時消耗硫酸銅溶液體積,單位為毫升(mL)。
4.11 EDTA標準溶液[c(EDTA)=0.035 mol/L]:
將13.00 g 乙二胺四乙酸二鈉溶于 300 mL水中,再用水稀釋至 1 000 mL。
標定:準確吸取氧化鋅標準溶液20 mL于 250 mL燒杯中,用水稀釋至 100 mL,加乙酸—乙酸鈉緩沖溶液20 mL及二甲酚橙指示劑3滴,用EDTA標準溶液滴定,溶液由紅色變為黃色為終點。
EDTA 標準溶液的濃度c( mol/L)按式(2)計算:
c = cZnO × VZnO / VEDTA ……………………………………………( 2 )
式中:
cZnO——氧化鋅標準溶液的濃度,單位為摩爾每升(mol/L);
VZnO——吸取氧化鋅標準溶液體積,單位為毫升(mL);
VEDTA——滴定時消耗EDTA標準溶液體積,單位為毫升(mL)。
EDTA 標準溶液對三氧化二鋁的滴定度T(mg/mL)按式(3)計算:
T=c×50.98………………………………………………( 3 )
式中:
c——EDTA標準溶液濃度,單位為摩爾每升(mol/L);
50.98——與1.00 mL EDTA標準溶液[c(EDTA)=1.00 mol/L]相當的三氧化二鋁的質量,單位為克每摩爾(g/moL)。
4.12 氧化鋅標準溶液[c(ZnO)=0.01 mol/L]:
稱取經900℃灼燒過的基準氧化鋅0.813 8 g于250mL燒杯中,用20 mL鹽酸溶液溶解,移入1 000 mL容量瓶中,用水稀釋至刻度,搖勻。
4.13 甲基橙指示劑:1g/L,0.1g甲基橙溶于100 mL水中。
4.14 亞硝基紅鹽指示劑:2 g/L,0.2g亞硝基紅鹽溶于100mL水中。
4.15 二甲酚橙指示劑:2 g/L,0.2g二甲酚橙溶于100mL水中。
4.16 其它試劑同GB/T 14563-2008 規定。
5 儀器設備
5.1 馬弗爐:帶有控溫裝置,能保持溫度為(750±10)℃。
5.2 水浴鍋:能自動控溫,保持溫度為(98±2)℃。
5.3 電動攪拌器,轉速可調。
5.4 真空泵,抽氣速率≥0.5 L/s,真空度>80kPa。
5.5 瓷舟:6cm×12cm。
5.6 圓底燒瓶:500mL。
5.7 具支錐形瓶:1000mL。
5.8 布氏漏斗:直徑125mm。
5.9 廣口瓶:500mL。
5.10 其它儀器設備同GB/T 14563-2008 規定。
6 試樣制備
6.1 參照GB 474規定,將煤系高嶺巖破碎、縮分、研磨至小于0.15mm。
6.2 稱取50g樣品于瓷舟中,鋪平,放入馬弗爐內,從室溫升至(750±10)℃,在此溫度下灼燒60min,取出,放入干燥器內。
7 測定步驟
7.1 試樣三氧化二鋁的測定
按照 GB/T 14563-2008 規定測定。
7.2 試樣浸出三氧化二鋁的測定
7.2.1 測定溶液的制備
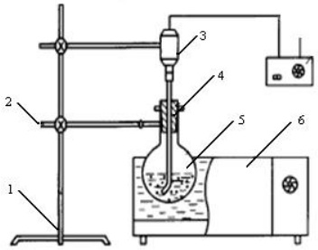
稱取25g(準確至0.02g)試樣,置于500mL圓底燒瓶中,加入硫酸溶液(4.7)150 mL,按圖1所示安裝好儀器。通電升溫至水浴溫度為 (98±2)℃時,開動攪拌器,在此溫度下浸取80min。

1——鐵支架;
2——鐵夾;
3——電動攪拌器;
4——帶孔橡皮塞;
5——圓底燒瓶;
6——水浴鍋。
圖1 浸取反應裝置圖
按圖2所示,安裝好減壓抽氣過濾裝置,趁熱過濾,用熱蒸餾水(約300 mL)沖洗濾渣(4~5)次。
以上為標準部分內容,如需看標準全文,請到相關授權網站購買標準正版。
-
IG541混合氣體滅火系統
IG541混合氣體滅火系統:IG-541滅火系統采用的IG-541混合氣體滅火劑是由大氣層中的氮氣(N2)、氬氣(Ar)和二氧化碳(CO2)三種氣體分別以52%、40%、8%的比例混合而成的一種滅火劑 -
二氧化碳氣體滅火系統
二氧化碳氣體滅火系統:二氧化碳氣體滅火系統由瓶架、滅火劑瓶組、泄漏檢測裝置、容器閥、金屬軟管、單向閥(滅火劑管)、集流管、安全泄漏裝置、選擇閥、信號反饋裝置、滅火劑輸送管、噴嘴、驅動氣體瓶組、電磁驅動 -
七氟丙烷滅火系統
七氟丙烷(HFC—227ea)滅火系統是一種高效能的滅火設備,其滅火劑HFC—ea是一種無色、無味、低毒性、絕緣性好、無二次污染的氣體,對大氣臭氧層的耗損潛能值(ODP)為零,是鹵代烷1211、130 -
手提式干粉滅火器
手提式干粉滅火器適滅火時,可手提或肩扛滅火器快速奔赴火場,在距燃燒處5米左右,放下滅火器。如在室外,應選擇在上風方向噴射。使用的干粉滅火器若是外掛式儲壓式的,操作者應一手緊握噴槍、另一手提起儲氣瓶上的


