AQ/T 4123-2014 煙花爆竹 煙火藥火焰感度測定方法
- 發表時間:2022-09-11
- 來源:共立消防
- 人氣:
1 范圍
本標準規定了煙火藥火焰感度測定的材料和儀器、試驗準備、試驗步驟、發火與瞎火的判別、試驗結 果處理和火焰感度儀標定方法。
本標準適用于煙花爆竹用煙火藥火焰感度的測定。
含煙火藥效果件火焰感度可參照執行。
2 規范性引用文件
下列文件對于本文件的應用是必不可少的。凡是注日期的引用文件,僅注日期的版本適用于本文件。凡是不注日期的引用文件,其最新版本(包括所有的修改單)適用于本文件。
WJ 636 雷管點燃用黑藥柱
3 術語和定義
下列術語和定義適用于本標準。
3.1
火焰感度 flame sensitivity
在一定條件下,煙火藥受噴射火焰直接作用而發火,其發火的難易程度,稱為火焰感度。通常用H50(50%發火距離)來表示煙火藥的火焰感度,H50值越小表示越容易發火,火焰感度越高;H50值越大 表示越不容易發火,火焰感度越低。
4 測定原理
在規定條件(質量、密度)下,在不同距離下用標準黑藥柱噴射的火焰點燃煙火藥,采用升降法試驗, 統計計算出50%發火距離H50,以H50來表示煙火藥的火焰感度。
5 材料和儀器
5.1 黑藥柱:應符合WJ 636要求。
5.2 試樣盂:外徑為6.5 mm,總高度為2.0 mm?2.2 mm,可用厚度為(0.5±0.02)mm的鋁箔、銅帶 等沖制。
5.3 變壓器:輸入電壓220 V,輸出電壓應W36V。
5.4 電阻絲:功率為1 000 W?2 000 W,接通電源后應保證電阻絲在3 s?4 s內發紅。
5.5 天平:精度0.001g。
5.6 烘干箱:水浴或油浴烘干箱,控制溫度(55±2)℃。
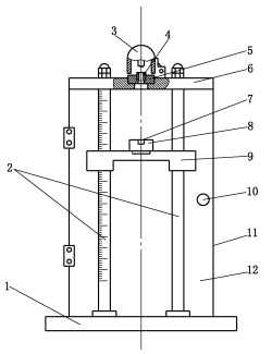
5.7 火焰感度儀:圖1所示為火焰感度儀。

說明:
1——底座;
2——立柱;
3——點火裝置;
4——黑藥柱;
5——藥柱模;
6——頂蓋;
7——試樣盂;
8——試樣模;
9——托盤架;
10——門栓;
11——護罩;
12——門。
圖1 火焰感度儀
6 試驗準備
6.1 儀器的檢查與調整
6.1.1 用棉紗等擦拭兩立柱上的污物,必要時在立柱上涂抹少許潤滑油,保證托盤架能在立柱上能靈 活移動。
6.1.2 點火裝置內和點火用電阻絲應干凈無殘渣。
6.1.3 打開電源開關,打開點火開關,使電阻絲發紅,如發生電阻絲斷裂或氧化嚴重,應更換新電阻絲。
6.1.4 選擇更換無加長導火管的藥柱模。
6.2 煙火藥的研磨與篩選
試樣分為發射藥、粉狀煙火藥、塊狀或粒狀煙火藥。
a)發射藥不進行研磨和篩選;
b)粉狀煙火藥不進行研磨,使煙火藥通過孔徑425 nm的標準篩,如有不能通過的鋁渣、鈦粉等硬質顆粒,將硬質顆粒一同放入篩過的煙火藥中混合均勻;
c)塊狀或粒狀煙火藥,不論是否含有外層的引燃藥,均不剝離,直接在研缽(應使用銅質等不發火材質的研缽)內碾碎、研磨,如有大塊的紙屑、稻殼應剔除,使煙火藥通過孔徑425 nm的標 準篩,如有不能碾碎的鋁渣、鈦粉等硬質顆粒,將硬質顆粒一同放入篩過的煙火藥中混合均勻。
6.3 煙火藥和黑藥柱的烘干
將煙火藥和黑藥柱放入水浴(或油浴)烘干箱中,在(55±2)℃的溫度下烘干4h,取出,放入干燥器內,冷卻30 min后備用。
7 試驗步驟
7.1 首發試驗
7.1.1 打開電源開關。
7.1.2 根據經驗選擇第一次試驗點火距離。
7.1.3 稱取將經6.2和6.3處理的煙火藥(0.020±0.005)g,置于試樣盂內,輕輕振動使煙火藥均勻平鋪在試樣盂內。
7.1.4 將試樣盂藥面朝上放入試樣模內套中心,將試樣模放在托盤架上,關好防護門。
7.1.5 將經6.3處理的黑藥柱放入藥柱模內,然后放在火焰感度儀的頂部中心孔位置(見圖1),扣上點火裝置。
7.1.6 打開點火開關,點燃黑藥柱,觀察煙火藥是否發火。
7.1.7 斷開點火開關,打開防護門,取出試樣模和藥柱模并擦拭。
7.2 根據經驗選擇試驗步長d
根據經驗選擇試驗步長d,參考步長為2 cm?5 cm。
7.3 試驗的繼續和完成
7.3.1 首發以后各發試驗方法:如前一發煙火藥發火,則本次試驗增加一個步長的點火距離進行試驗; 如前一發煙火藥瞎火,則本次試驗減少一個步長的點火距離進行試驗。
7.3.2 重復7.3.1的操作,直到首次出現與前一發試驗相反的結果時開始進行記錄,前一次試驗記錄 為第一發,當前試驗記錄為第二發,直至取得30發有效數據。
7.3.3 若取得的30發有效數據中點火距離數為4個?7個,則試驗完成,關閉電源開關;若點火距離 數<4個或>7個時,應改變d,重新試驗。
8 發火與瞎火的判別
8.1 發火的判別
煙火藥發生爆炸或燃燒現象時判定為發火。
a)爆炸現象:產生爆炸聲、煙霧、火光現象,煙火藥爆炸完全或不完全,試樣盂內有爆炸物殘渣;
b)燃燒現象:產生燃燒火光、冒煙現象,煙火藥燃燒完全或不完全,試樣盂內有燃燒物殘渣。
以上為標準部分內容,如需看標準全文,請到相關授權網站購買標準正版。
-
IG541混合氣體滅火系統
IG541混合氣體滅火系統:IG-541滅火系統采用的IG-541混合氣體滅火劑是由大氣層中的氮氣(N2)、氬氣(Ar)和二氧化碳(CO2)三種氣體分別以52%、40%、8%的比例混合而成的一種滅火劑 -
二氧化碳氣體滅火系統
二氧化碳氣體滅火系統:二氧化碳氣體滅火系統由瓶架、滅火劑瓶組、泄漏檢測裝置、容器閥、金屬軟管、單向閥(滅火劑管)、集流管、安全泄漏裝置、選擇閥、信號反饋裝置、滅火劑輸送管、噴嘴、驅動氣體瓶組、電磁驅動 -
七氟丙烷滅火系統
七氟丙烷(HFC—227ea)滅火系統是一種高效能的滅火設備,其滅火劑HFC—ea是一種無色、無味、低毒性、絕緣性好、無二次污染的氣體,對大氣臭氧層的耗損潛能值(ODP)為零,是鹵代烷1211、130 -
手提式干粉滅火器
手提式干粉滅火器適滅火時,可手提或肩扛滅火器快速奔赴火場,在距燃燒處5米左右,放下滅火器。如在室外,應選擇在上風方向噴射。使用的干粉滅火器若是外掛式儲壓式的,操作者應一手緊握噴槍、另一手提起儲氣瓶上的


