GB/T 19726.2-2020 林業機械 便攜式油鋸安全要求和試驗 第2部分:修枝油鋸
- 發表時間:2023-03-14
- 來源:共立消防
- 人氣:
1 范圍
GB/T 19726的本部分規定了以內燃機為動力的便攜式修枝油鋸(以下簡稱修枝油鋸)(見圖1)在設計和結構方面的安全要求和試驗方法。本部分適用于經過培訓且已經閱讀并理解使用說明書中的安全要求、同時使用了正確的個人保護裝置的操作者右手握持后手把、左手握持前手把、且不包括鋸鏈和導板、油箱為空時的凈質量不大于4.3kg的修整樹冠用修枝油鋸。本部分敘述了消除或減少使用修枝油鋸所產生的各種危害的方法,規定了由生產廠家提供的有關安全操作方面的資料要求。
本部分給出了與修枝油鋸相關的,正常使用時以及合理的、可預見的誤用時的所有嚴重危害。
注:附錄B中列出了嚴重危害一覽表。
本部分適用于在其實施后所生產的修枝油鋸。
2 規范性引用文件
下列文件對于本文件的應用是必不可少的。凡是注日期的引用文件,僅注日期的版本適用于本文件。凡是不注日期的引用文件,其最新版本(包括所有的修改單)適用于本文件。
GB/T 23821-2009 機械安全 防止上下肢觸及危險區的安全距離(ISO 13857:2008,IDT)
ISO 6531:2008 林業機械便攜式油鋸 詞匯(Machinery for forestry-Portable chain-saws-Vocabulary)
ISO 6533 油鋸 前護手器 尺寸和空隙(Forestry machinery-Portable chain-saw front hand-guard-Dimensions and clearances)
ISO 6534 林業機械 便攜式油鋸護手器 機械強度(Forestry machinery-Portable chain-sawhand guards-Mechanical strength)
ISO 6535 便攜式油鋸 鋸鏈制動器性能(Portable chain-saws-Chain brake performance)
ISO 7010 圖形符號 安全色和安全標志 已注冊安全標志(Graphical symbols-Safety coloursand safety signs-Registered safety signs)
ISO 7293 林業機械 便攜式油鋸 發動機性能和燃油消耗(Forestry machinery-Portablechain-saws-Engine performance and fuel consumption)
ISO 7914:2002 林業機械 便攜式油鋸 手把最小空隙和尺寸(Forestry machinery-Portablechain-saws-Minimum handle clearance and sizes)
ISO 7915 林業機械 油鋸 手把強度的測定(Forestry machinery-Portable chain-saws-De-termination of handle strength)
ISO 8334 林業機械 便攜式油鋸 平衡的測定(Forestry machinery-Portable chain-saws-De-termination of balance and maximum holding moment)
ISO 9518 林業機械 便攜式油鋸 反彈試驗(Forestry machinery-Portable chain-saws-Kick-back test)
ISO 10726 便攜式鏈鋸 止鏈銷 尺寸和機械強度(Portable chain-saws-Chain catcher-Di-mensions and mechanical strength)
ISO 12100:2010 機械安全 設計通則 風險評估與風險減小(Safety of machinery-General prin-ciples for design - Risk assessment and risk reduction)
ISO 13772 林業機械 便攜式油鋸 被動式鋸鏈制動器性能要求及測試方法(Forestry machin-ery-Portable chain-saws-Non-manually actuated chain brake performance)
ISO 13849-1:2006 機械安全 控制系統安全相關部件 第1部分:設計通則(Safety of machin-ery-Safety-related parts of control systems-Part 1: General principles for design)
ISO 13849-2 機械安全 控制系統安全相關部件 第2部分:確認(Safety of machinery-Safety-related parts of control systems-Part 2: Validation)
ISO 14982:1998 農林機械 電磁兼容性 試驗方法和驗收規則(Agricultural and forestry ma-chinery-Electromagnetic compatibility-Test methods and acceptance criteria)
ISO 22867 林業及園林機械 以內燃機為動力的便攜式手持操作機械振動測定規范 手把振動(Forestry and gardening machinery-Vibration test code for portable hand-held machines with internal combustion engine-Vibration at the handles)
ISO 22868 林業及園林機械以內燃機為動力的便攜式手持操作機械噪聲測定規范 工程法(2級精度)[Forestry and gardening machinery-Noise test code for portable hand-held machines with internal combustion engine-Engineering method (Grade 2 accuracy)]
IEC 60745-1:2006 手持式電動工具 安全 第1部分:通用要求(Hand-held motor-operatedelectric tools-Safety-Part 1:General requirements)
3 術語和定義
ISO 6531和ISO 12100所給出的術語和定義適用于本文件。
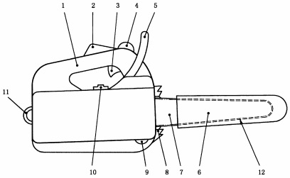
注:圖1給出了適用于本部分的油鋸示例。
3.1
經過培訓的操作者 trained operator
了解和熟知以下要求的人:
——熟知符合本部分要求的修枝油鋸使用方法和進行修剪作業時可能發生的危害;
——知道如何采取預防措施來減少危害的發生,包括穿戴個人防護裝備等。

說明:
1——后手把;
2——油門扳機鎖定裝置;
3——油門扳機;
4——前手把;
5——前護手器;
6——導板罩;
7——導板;
8——插木齒;
9——止鏈銷;
10——停機開關;
11——掛接點;
12——鋸鏈。
圖1 修枝油鋸示例
4 安全要求和/或保護措施
4.1 總則
修枝油鋸應符合本章的安全要求和/或防護措施。另外,對于本部分中未提及的相關的非嚴重危害,設計機器時應按ISO 12100中的規定執行。
安全使用修枝油鋸取決于與使用個人防護設備(如手套、防滑靴及腿部、眼睛、耳朵和頭部的防護用品等)相關的安全環境,以及安全工作程序(見5.1)。
除非本部分中另行規定,否則安全距離應滿足GB/T 23821-2009中4.2.4.1與4.2.4.3的要求。
4.2 手把
4.2.1 要求
修枝油鋸應具有供雙手分別握持的兩個手把,其結構設計上應滿足如下要求:
——確保操作者戴上防護手套時能完全握住手把;
——手把的形狀和表面能確保握持的可靠性;
——手把的尺寸符合ISO 7914中關于修枝油鋸的規定(見4.12.1)。
兩個手把的結構強度應符合ISO7915的要求。
修枝油鋸如有手把減振系統,結構上應確保在減振系統失效的情況下操作者能通過控制停機裝置使發動機停止運轉(見4.11)。
4.2.2 檢驗
通過測量檢驗尺寸。按ISO7915的規定檢驗強度。通過檢查設計結構和功能性測試來檢驗在減
振系統失效的情況下能否使修枝油鋸停機。
4.3 手的防護
4.3.1 前手把的防護
4.3.1.1 要求
在靠近前手把處應安裝前護手器(見圖1),防止操作者的手與鋸鏈接觸而受傷。
前護手器的尺寸和機械強度應分別符合ISO 6533和ISO 6534的規定。
4.3.1.2 檢驗
通過測量檢驗尺寸。按ISO6534的規定檢驗強度。
4.3.2 后手把的防護
4.3.2.1 要求
在后手把底部的右側應設有后護手器,防止意外斷鏈時,操作者的手被鋸鏈傷害。
后護手器的寬度應滿足距手把右邊緣導板所在一側不小于30mm(見圖2),后護手器長度應滿足自后手把握持空間前端面起向后不小于100mm(見圖2)。
也可將后護手器、操縱機構作為部件在結構上來滿足這一要求。
以上為標準部分內容,如需看標準全文,請到相關授權網站購買標準正版。
-
IG541混合氣體滅火系統
IG541混合氣體滅火系統:IG-541滅火系統采用的IG-541混合氣體滅火劑是由大氣層中的氮氣(N2)、氬氣(Ar)和二氧化碳(CO2)三種氣體分別以52%、40%、8%的比例混合而成的一種滅火劑 -
二氧化碳氣體滅火系統
二氧化碳氣體滅火系統:二氧化碳氣體滅火系統由瓶架、滅火劑瓶組、泄漏檢測裝置、容器閥、金屬軟管、單向閥(滅火劑管)、集流管、安全泄漏裝置、選擇閥、信號反饋裝置、滅火劑輸送管、噴嘴、驅動氣體瓶組、電磁驅動 -
七氟丙烷滅火系統
七氟丙烷(HFC—227ea)滅火系統是一種高效能的滅火設備,其滅火劑HFC—ea是一種無色、無味、低毒性、絕緣性好、無二次污染的氣體,對大氣臭氧層的耗損潛能值(ODP)為零,是鹵代烷1211、130 -
手提式干粉滅火器
手提式干粉滅火器適滅火時,可手提或肩扛滅火器快速奔赴火場,在距燃燒處5米左右,放下滅火器。如在室外,應選擇在上風方向噴射。使用的干粉滅火器若是外掛式儲壓式的,操作者應一手緊握噴槍、另一手提起儲氣瓶上的


