GB 10395.16-2010 農林機械 安全 第16部分:馬鈴薯收獲機
- 發表時間:2023-01-29
- 來源:共立消防
- 人氣:
1 范圍
GB 10395的本部分規定了設計和制造牽引式、懸掛式和自走式馬鈴薯收獲機的安全要求和判定方法。還規定了制造廠應提供的安全操作信息的類型。
本部分適用于可進行莖葉切割、挖掘、撿拾、清理、輸送和卸料等一種或多種作業的牽引式、懸掛式和自走式馬鈴薯收獲機,也適用于未經改裝便可用于收獲其他作物的馬鈴薯收獲機(以下簡稱“收獲機”)。
本部分未考慮環境方面因素。
2 規范性引用文件
下列文件中的條款通過GB 10395的本部分的引用而成為本部分的條款。凡是注日期的引用文件,其隨后所有的修改單(不包括勘誤的內容)或修訂版均不適用于本部分,然而,鼓勵根據本部分達成協議的各方研究是否可使用這些文件的最新版本。凡是不注日期的引用文件,其最新版本適用于本部分。
GB 10395.1-2009 農林機械 安全 第1部分:總則(ISO 4254-1:2008,MOD)
GB/T 15706.1-2007 機械安全 基本概念與設計通則 第1部分:基本術語和方法(ISO 12100-1:2003,IDT)
GB/T 15706.2-2007 機械安全 基本概念與設計通則 第2部分:技術原則(ISO 12100-2:2003,IDT)
GB 16754 機械安全 急停 設計原則(GB 16754-2008,ISO 13850:2006,IDT)
GB/T 18717.3 用于機械安全的人類工效學設計 第3部分:人體測量數據(GB/T 18717.3-2002,neq ISO 15534-3:2000)
GB/T 21155-2007 土方機械 前進和倒退音響報警 聲響試驗方法(ISO 9533:1989,IDT)
GB 23821-2009 機械安全 防止上下肢觸及危險區的安全距離(ISO 13857:2008,IDT)
EN 620:2002 連續搬運設備和系統 散裝物料用固定帶式輸送裝置的安全性和電磁兼容性(EMC)要求
3 術語和定義
GB/T 15706.1和GB/T 15706.2確立的以及下列術語和定義適用于本部分。
注:附錄B給出了下列定義的機器和零部件的示例圖。
3.1
莖葉切碎裝置 haulm chopping device
在挖掘馬鈴薯前切下并清除莖葉的裝置。
3.2
莖葉分離裝置 haulm stripping device
挖掘后將莖葉從馬鈴薯中分離出來的裝置。
3.3
挖掘裝置 crop lifting device
從泥土中將馬鈴薯挖掘出來的裝置。
3.4
清理裝置 cleaning device
主要用于將粘附泥土的馬鈴薯從中分離出來的裝置。
3.5
土塊和石塊清除裝置 clod and stone removal device
從挖掘出的馬鈴薯中去除泥土、土塊和石塊的裝置。
3.6
分選平臺 sorting platform
收獲機上分選馬鈴薯的工作區。
3.7
雙向通信 two-way communication
分選平臺上操作者和收獲機或拖拉機駕駛員之間相互傳送信息/聲音的能力。
3.8
輸送裝置 conveying device
將馬鈴薯從收獲機的一處輸送到另一處的裝置。
3.9
卸料裝置 unloading device
將馬鈴薯從收獲機輸送出去的裝置。
3.10
高位自卸料斗 high-tip hopper
裝有底盤傾卸支架舉升系統的料斗。
4 安全要求和/或措施
4.1 一般要求
設計收獲機時,本部分未涉及的危險應遵循GB/T 15706.1和GB/T 15706.2規定的原則。
除本部分另有規定外,收獲機應符合GB 10395.1和GB 23821-2009中表1、表3、表4或表6的規定。
4.2 操縱機構
對自走式收獲機,應僅能在駕駛員位置控制運動部件的起動和停止。對牽引式和懸掛式收獲機,應僅能在牽引機械(如拖拉機)駕駛員位置控制運動部件的起動和停止。
對帶分選平臺的收獲機,符合GB16754規定的急停裝置在每個工作區均應能操作以停止分選平臺的輸送器。急停裝置的可操作性應符合GB/T 18717.3的規定。
調整運動部件的操縱機構應位于在駕駛員位置和/或分選平臺操作者位置能操作并裝有防護裝置的位置處。
傾卸和/或高位自卸操縱機構應為止-動型(持續操縱型),并應在駕駛員位置上才能操作。
4.3 后視野
自走式收獲機應裝符合GB/T 21155規定的聲響報警裝置,該裝置在收獲機倒退時應能自動接通。
若收獲機上配備了能使駕駛員清晰觀察收獲機后部情況的閉路監視器(CCTV),則不要求安裝聲響報警裝置。
4.4 莖葉切碎器
4.4.1 防止意外接觸刀具的防護裝置
收獲機應通過設計或采取防護措施避免在前部、后部、側面和頂部與刀具意外接觸。
在頂部,無孔防護裝置應至少覆蓋住刀具旋轉軌跡的外端點。
在前部、后部、側面的可進入區,防護裝置應是下列三種情況之一:
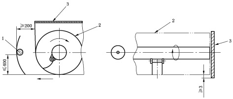
——距刀具旋轉軌跡最低點的最大高度400mm,距刀具旋轉軌跡外端點的最小水平距離200mm的屏障[見圖1a)]。側面屏障應可以折疊以便于運輸。屏障應始終與收獲機保持連接,并可靠固定在其位置上;
——無孔防護裝置,該防護裝置靠近刀具,且下邊緣低于刀具旋轉軌跡至少3mm[見圖1b)];
上述兩種防護裝置的組合。
這些防護裝置在水平面上的投影應是連續的。
單位為毫米

1——屏障;
2——刀具旋轉軌跡;
3——無孔防護裝置。
a)屏障型防護裝置 b)無孔防護裝置
圖1 莖葉切碎器的防護裝置
4.4.2 輸送器
位于距離收獲機外部輪廓小于850mm位置處的輸送器任何運動部件均應進行防護,排出口除外。排出口應安裝:
——如下組合式防護裝置:
a)在頂部,為兩側伸出輸送器外側部件最小150mm的無孔防護裝置(見圖2)。當使用帶式輸送器時,頂部防護裝置的下邊緣與帶式輸送器上表面的最大距離應為200mm(見圖3);
b) 在輸送器的外端:
1)當使用螺旋式輸送器時,為固定式防護裝置,該防護裝置下端應至少延伸至螺旋輸送器軸線以下50mm(見圖2);
2) 當使用帶式輸送器時,為位于距傳動帶任何運動部件最小水平距離150mm的屏障,該屏障在垂直平面內與帶式輸送器上表面的最大距離為200mm(見圖4)。帶式輸送器的側面部件應按EN 620:2002中5.1的規定進行防護以防止意外接觸。
或應安裝:
——活動式防護裝置,該防護裝置應完全封住排出口,且在沒有物料排出時自動返回閉合位置(見圖5)。
以上為標準部分內容,如需看標準全文,請到相關授權網站購買標準正版。
-
IG541混合氣體滅火系統
IG541混合氣體滅火系統:IG-541滅火系統采用的IG-541混合氣體滅火劑是由大氣層中的氮氣(N2)、氬氣(Ar)和二氧化碳(CO2)三種氣體分別以52%、40%、8%的比例混合而成的一種滅火劑 -
二氧化碳氣體滅火系統
二氧化碳氣體滅火系統:二氧化碳氣體滅火系統由瓶架、滅火劑瓶組、泄漏檢測裝置、容器閥、金屬軟管、單向閥(滅火劑管)、集流管、安全泄漏裝置、選擇閥、信號反饋裝置、滅火劑輸送管、噴嘴、驅動氣體瓶組、電磁驅動 -
七氟丙烷滅火系統
七氟丙烷(HFC—227ea)滅火系統是一種高效能的滅火設備,其滅火劑HFC—ea是一種無色、無味、低毒性、絕緣性好、無二次污染的氣體,對大氣臭氧層的耗損潛能值(ODP)為零,是鹵代烷1211、130 -
手提式干粉滅火器
手提式干粉滅火器適滅火時,可手提或肩扛滅火器快速奔赴火場,在距燃燒處5米左右,放下滅火器。如在室外,應選擇在上風方向噴射。使用的干粉滅火器若是外掛式儲壓式的,操作者應一手緊握噴槍、另一手提起儲氣瓶上的


